The Energy-Environment Simulator

Discussion in 'Resources' started by Delta Force, Jun 22, 2017.

  1. Delta Force

    Delta Force Administrator
    Staff Member Administrator

    Joined:
    Mar 9, 2017
    Messages:
    176
    Likes Received:
    3
    The Energy-Environment Simulator was developed by United States Atomic Energy Commission scientists at the height of the 1973 Energy Crisis. The following photo is from this blog.

    [​IMG]

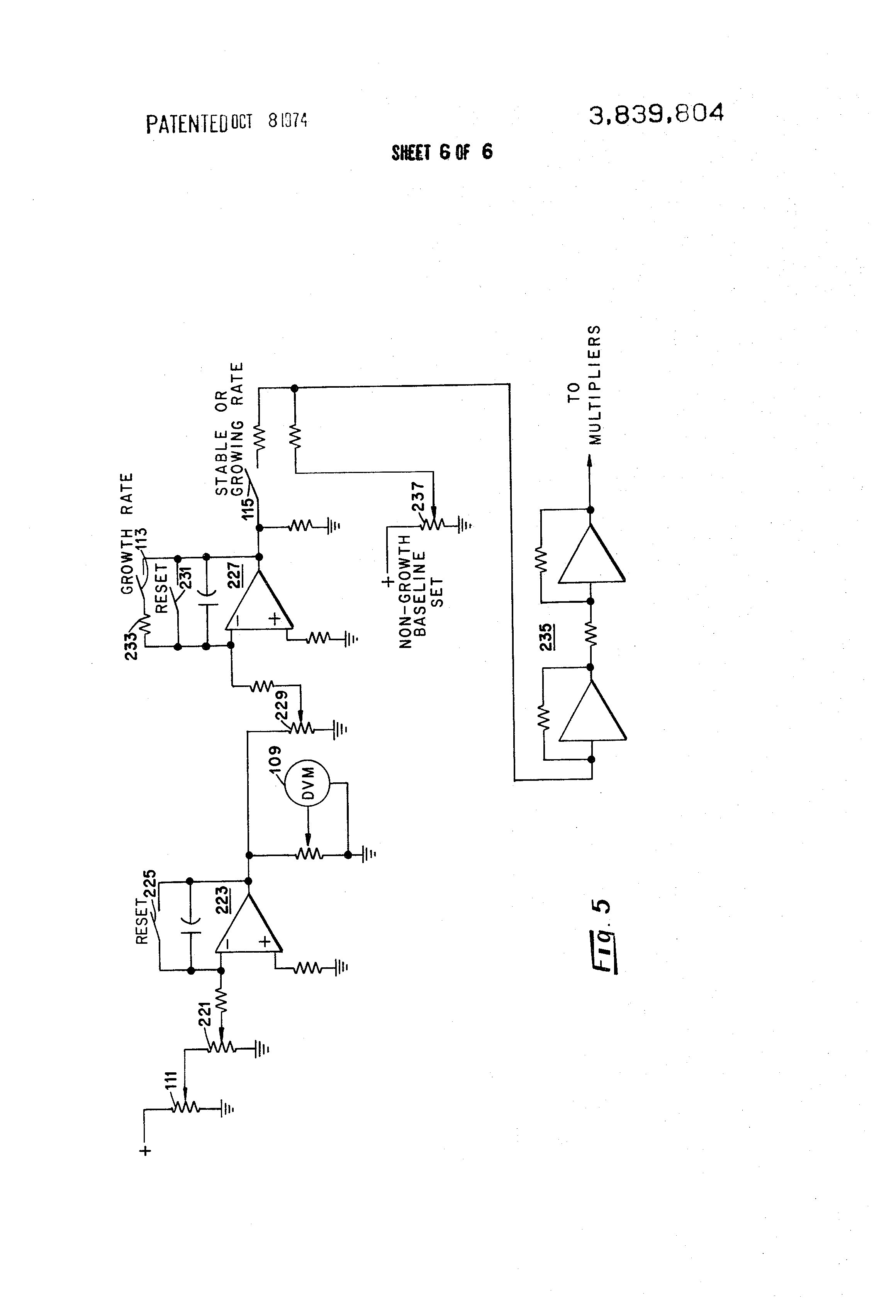
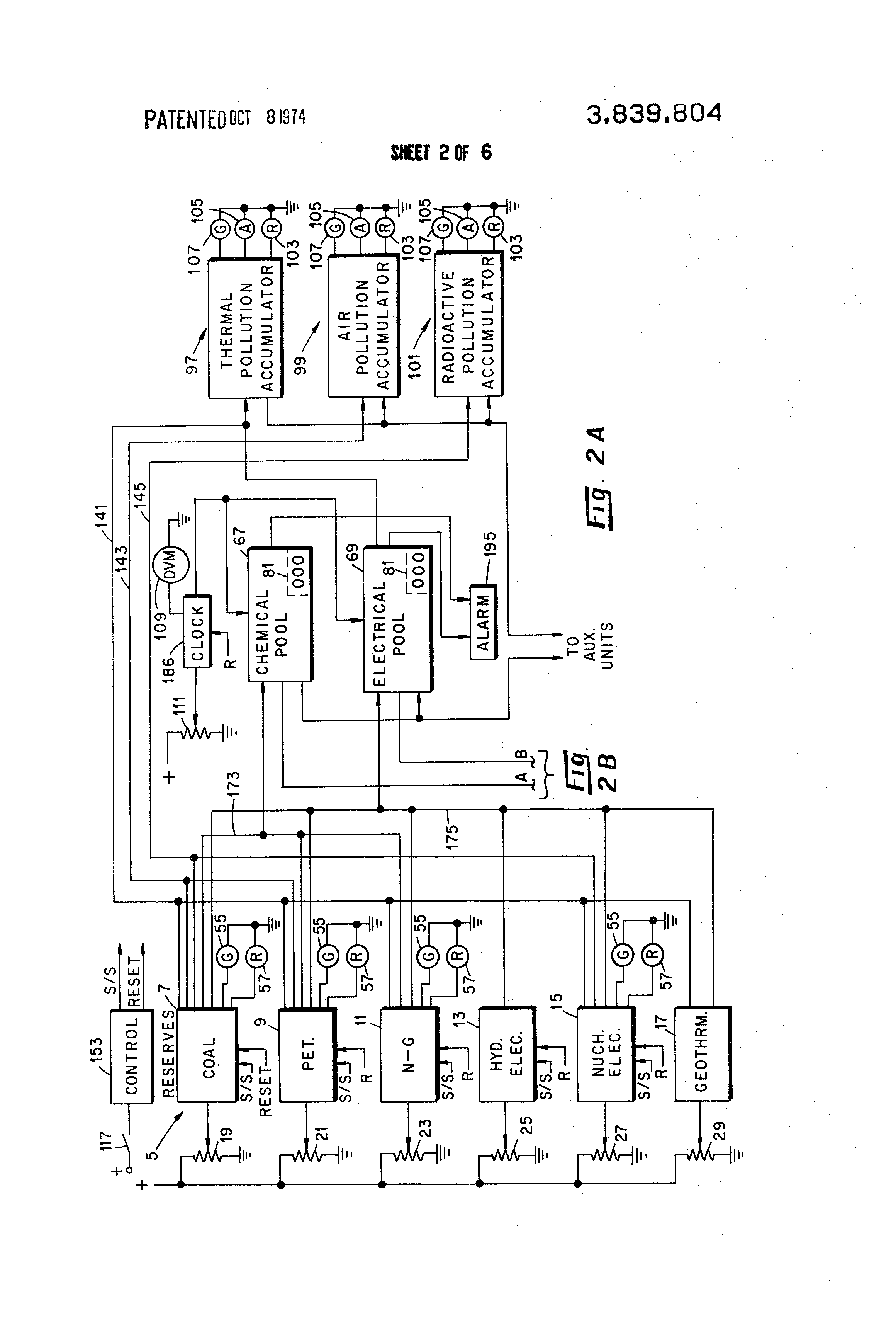
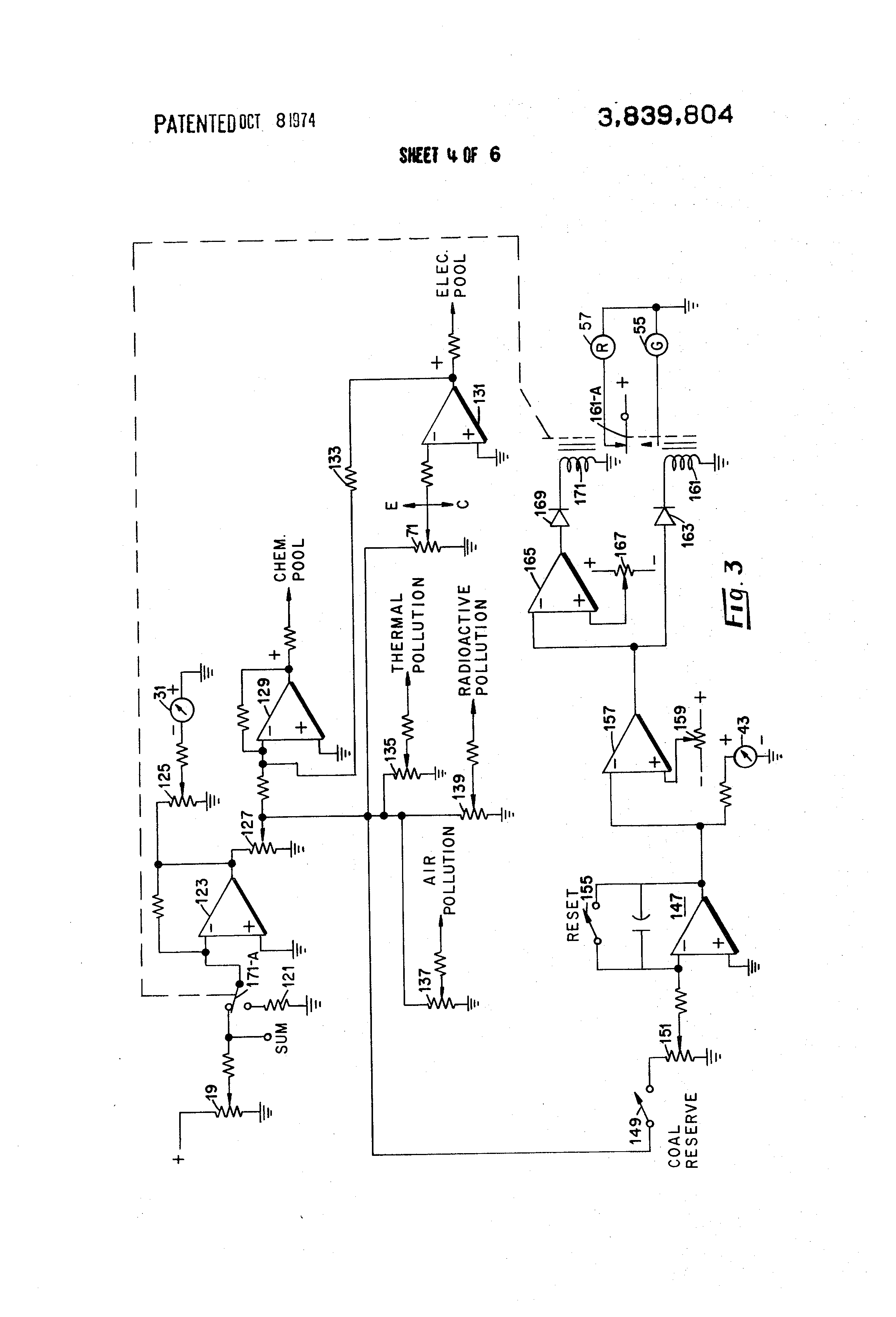
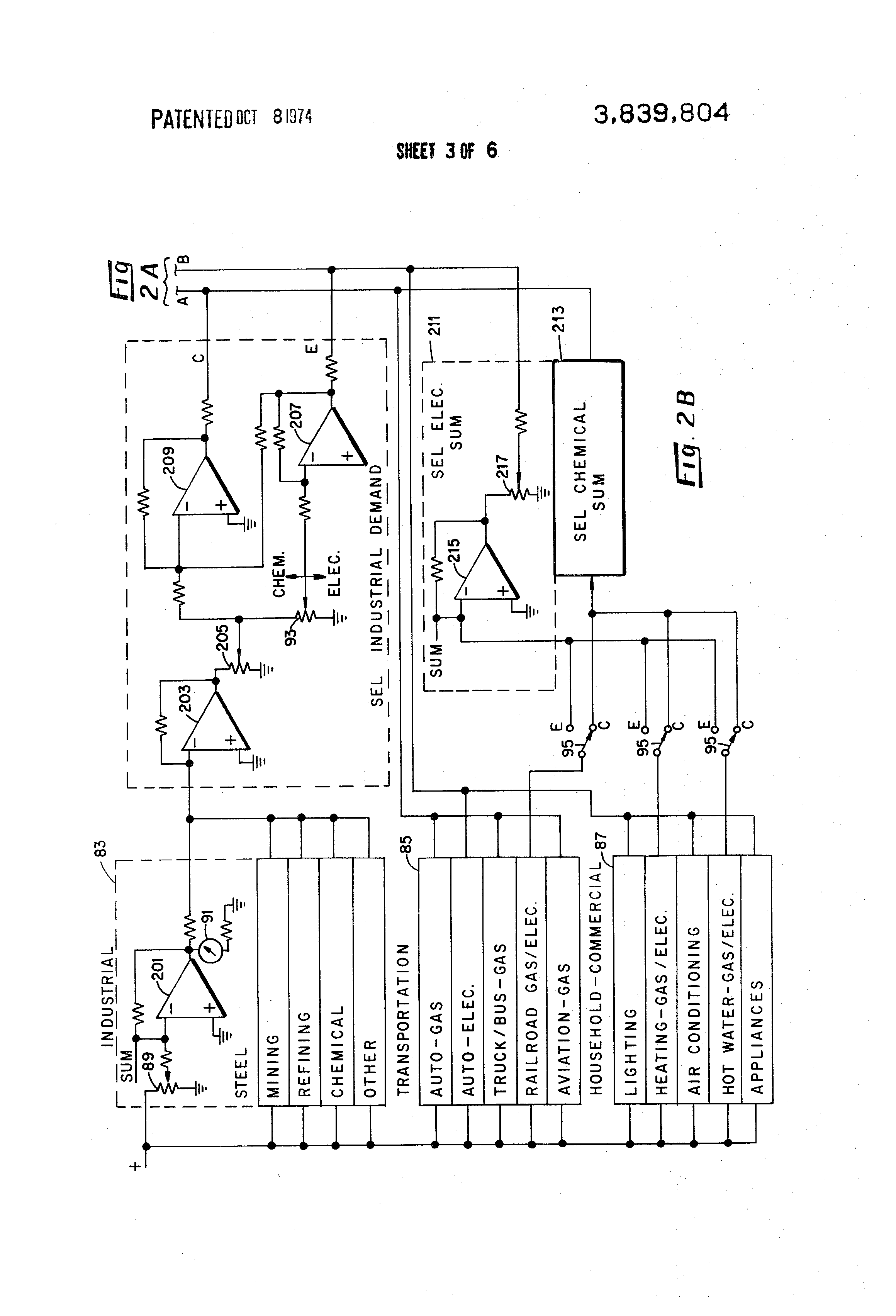
    The device had a patent which can be found here, as well as the following description and photos.

     
    #1 Delta Force, Jun 22, 2017
    Last edited: Jun 22, 2017

Share This Page